

Amazon heeft een nieuw patent ingediend voor speciale drone containers. Deze containers kunnen vervoerd worden op treinen, trucks en boten en zijn de thuishaven van bezorgdrones.
Om pakketbezorging met drones in goede banen te leiden speelt Amazon met het idee om speciale drone containers te ontwikkelen die vervoerd worden op treinen, trucks en boten. In deze containers worden bezorgdrones gerepareerd of van een nieuwe accu voorzien. Daarnaast worden er ook containers ontwikkeld die dienen als een mobiel distributiecentrum, waar drones pakketten ophalen om te bezorgen.
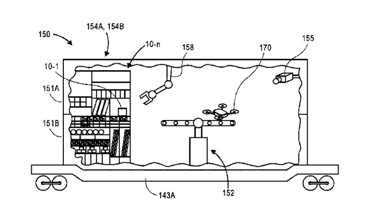
Het nieuwe patent van Amazon patent beschrijft een vrachtcontainer met een geautomatiseerd luik in het dak. Wanneer de drone in de buurt is opent het dak zodat de drone binnen kan landen. De containers worden geplaatst op een trein, truck of boot. Ook denkt Amazon na over een vrachtwagen met een container die naar een gestrande drone rijdt en deze met een robotarm oppikt. In de container wordt deze dan weer gerepareerd zodat de drone snel zijn werkzaamheden weer op kan pakken.

Een goederen container kan ingezet worden bij het bezorgen van alledaagse producten. Door de goederen in de container slim af te stemmen op de vraag van de consument kunnen de aflevertijden aanzienlijk verkort worden.
Het is niet bekend of Amazon daadwerkelijk de plannen, zoals beschreven in het patent, gaat uitvoeren. Jaarlijks worden er vele patenten ingediend waarbij de ontwikkeling voorlopig nog achterblijft. Onlangs diende het bedrijf ook een patent in voor een dronebezorgtoren.
DRONES.nl biedt een verzameling van nieuwsberichten over drones in categorieën als: Drones, Accessoires, Luchtfotografie, FPV racing, Evenementen, Technologie, Bezorging en Opmerkelijk.
Naast nieuws vind je ook video’s , bedrijven, events en forum over drones, oftewel de kleine vliegtuigjes zonder piloot ook wel aangeduid als multicopters, quadcopters, hexacopters, octocopters, helikopters, UAV en andere onbemande luchtvaartuigen en op afstand bestuurbare vliegtuigjes.
Via de handige dronevergelijker kun je razendsnel alle drones zoeken op basis van bepaalde kenmerken. Via de zoekmachine vind je alle populaire modellen drones van bekende merken.
[message]