

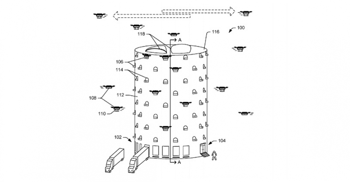
Amazon heeft een octrooiaanvraag ingediend voor een 'multi-level fulfillment center', waarmee drones pakketten in stedelijke gebieden kunnen bezorgen.
Het multi-level fulfillment center is omschreven als een enorme robot-aangedreven toren die het gemakkelijk maakt voor drones om in en uit te vliegen, zodat ze pakketten in en rond een stad kunnen leveren.
De octrooiaanvraag werd deze week gepubliceerd door het US Patent and Trademark Office.

Naast de octrooiaanvraag voor de geautomatiseerde fulfillment toren diende de e-commerce gigant ook aanvragen in voor patenten op het gebied van performance en geluidscontrole. Zo diende Amazon meerdere patentaanvragen in voor oplossingen dat het irritante propellergeluid minimaliseert.

Het indienen van een octrooi is geen garantie dat deze dronetoren een realiteit zal worden, maar het onderstreept dat Amazon dronebezorging blijft nastreven. In maart leverde de onderneming met haar drone delivery-afdeling, 'Amazon Prime Air', haar eerste pakket in het openbaar in de VS.
DRONES.nl biedt een verzameling van nieuwsberichten over drones in categorieën als: Drones, Accessoires, Luchtfotografie, FPV racing, Evenementen, Technologie, Bezorging en Opmerkelijk.
Naast nieuws vind je ook video’s , bedrijven, events en forum over drones, oftewel de kleine vliegtuigjes zonder piloot ook wel aangeduid als multicopters, quadcopters, hexacopters, octocopters, helikopters, UAV en andere onbemande luchtvaartuigen en op afstand bestuurbare vliegtuigjes.
Via de handige dronevergelijker kun je razendsnel alle drones zoeken op basis van bepaalde kenmerken. Via de zoekmachine vind je alle populaire modellen drones van bekende merken.
[message]