

Webwinkel Amazon blijft innoveren op het gebied van bezorging met drones. Dat blijkt opnieuw uit het verkregen patent van de webwinkel. Het patent laat een zeppelin zien waar drones hun pakketjes op kunnen halen.
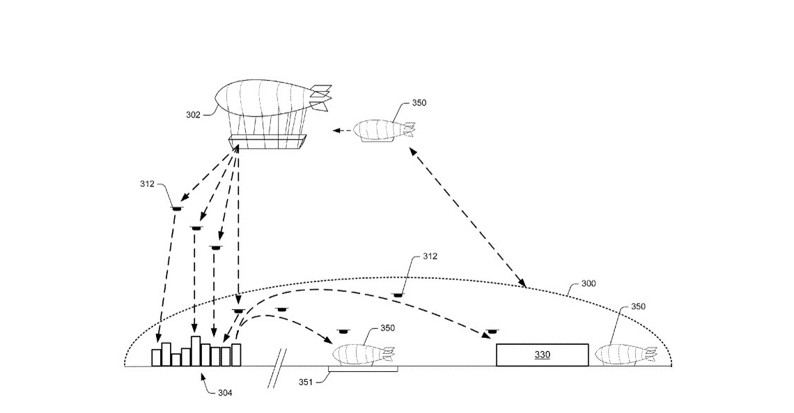
Amazon maakt grote stappen als het gaat om pakketbezorging met drones. Eerder deze maand bezorgde de webwinkel het eerste pakketje met een drone. Nu heeft Amazon een patent ingediend en gekregen op een vliegend pakhuis met drones. Het revolutionaire concept krijgt de naam 'Airborne Fulfillment Centers' (AFCs).
Het idee is dat er grote zeppelins op een hoogte van ongeveer 13 kilometer vliegen. De zeppelins fungeren als een groot vliegend pakhuis. Deze worden dan bijvoorbeeld bij sportwedstrijden ingezet. De zeppelin is dan geladen met merchandise en eten voor de fans. Wanneer klanten een bestelling plaatsen bezorgt de drone het binnen een aantal minuten bij de fan.

DRONES.nl biedt een verzameling van nieuwsberichten over drones in categorieën als: Drones, Accessoires, Luchtfotografie, FPV racing, Evenementen, Technologie, Bezorging en Opmerkelijk.
Naast nieuws vind je ook video’s , bedrijven, events en forum over drones, oftewel de kleine vliegtuigjes zonder piloot ook wel aangeduid als multicopters, quadcopters, hexacopters, octocopters, helikopters, UAV en andere onbemande luchtvaartuigen en op afstand bestuurbare vliegtuigjes.
Via de handige dronevergelijker kun je razendsnel alle drones zoeken op basis van bepaalde kenmerken. Via de zoekmachine vind je alle populaire modellen drones van bekende merken.
[message]